BTC/HKD-2.15%
ETH/HKD-1.47%
LTC/HKD-0.05%
ADA/HKD-1.96%
SOL/HKD-3.56%
XRP/HKD-1.42%本文于2019年10月8日首發于公眾號品玩,作者范俊杰
一、現身
如果不是區塊鏈和加密貨幣的概念一夜之間炙手可熱,“幣圈”的莊家們可能還在過著悶聲發大財的逍遙日子。
但現在這種平衡被打破了。最近一年,數字貨幣和替代性加密貨幣的價格暴漲,各種版本的炒幣暴富神話在網絡上流傳。2017年9月,中國的監管機構下令禁止境內的ICO交易,并陸續屏蔽境外ICO交易平臺的域名。這非但未能消滅“圈外人”的入場熱情,反而激發了公眾的窺探欲,更引發了傳統風險投資界的焦慮和參與。
2018年除夕,一系列名為“三點鐘無眠區塊鏈”的微信群橫空出世,在各種區塊鏈微信群里呼風喚雨的,是薛蠻子、徐小平、蔡文勝和王峰這樣的傳統天使風險投資人。大佬們坐而論道,談區塊鏈技術的未來和區塊鏈的應用場景,號召人們關注區塊鏈,擁抱區塊鏈的未來。無獨有偶的是,他們在微信群里的每一次“私密分享”,都會成為廣為流傳的微信朋友圈素材和媒體報道的來源,更是把“全民區塊鏈”的熱情推向高潮。甚至區塊鏈之外的互聯網產業都被戲稱為“古典互聯網”,現有的私募股權投資模式也被調侃為“古典互聯網投資”。
傳統互聯網的蒼天死了,區塊鏈的黃天立了。有意思的是,這些突然闖入的“前古典投資大佬”表現出對區塊鏈異乎尋常的興趣,卻絕口不談比特幣和其它加密代幣,或者干脆直接與“炒幣的”劃清界限。但微信群里的信徒們和所有關注他們言論的看客們,幾乎無一不試圖從他們的言論和態度中,尋找、坐實并放大幣的交易價值。
也并沒有人真正清楚這些大佬們炒不炒幣,持有多少幣,賺了多少錢。
這些群里也有一些幾乎從不發言,但悶聲發財的人。這些人不求虛名,比活躍的新晉區塊鏈意見領袖們,賺到了更多的錢。
他們是區塊鏈加密貨幣交易世界的莊家。
2017年底,一個名為IOST的區塊鏈項目正在籌劃ICO,募資數額巨大。在ICO之前的私募階段,該團隊宣傳稱其背后的投資方有真格基金、紅杉中國和險峰長青等知名風投機構。陣容可謂豪華。隨即有媒體發現,“IOST”項目團隊與真格基金投資的“多拉打印”團隊在人員上高度重合,質疑項目是”多拉打印”的融資馬甲,猜測IOST只是一個“空氣幣”項目。
此事后來不了了之,但一個叫“杜均”的名字浮出水面——
“IOST”是由火幣網旗下HuobiLabs孵化的項目。火幣網是其主要投資方,也是聯合首發的交易所,而杜均是火幣網的聯合創始人、獨立董事和股東。
除火幣網和真格基金之外,“IOST”和另一個項目“DATA”的共同投資方還有一家叫“節點資本”的機構,該機構專注區塊鏈領域投資,杜均也是節點資本的創始合伙人。
與此同時,“IOST”在一家區塊鏈垂直媒體——“金色財經”上,曾被積極推薦,而“金色財經”的實際控制人,又是杜均。
利益交叉復雜,線索卻再清晰不過。從項目孵化開始,到登陸交易所公開流通,再到垂直媒體的配合炒作,一場ICO的每一個環節,杜均都深涉其中。
PingWest品玩發現,自2013年與李林等人一起創辦“火幣網”起,杜均漸次在“幣圈”里建立起了自己的產業鏈,時至今日,他已然坐擁私募股權投資、垂直行業媒體和數字貨幣交易所三大核心資源。而這三大資源平臺,恰恰又是一場ICO最依賴的部分,也是各種內幕交易和暗箱操作的溫床。
如果以股票市場作比,杜均是一個身兼承銷商、證券媒體以及坐市商三大角色于一體的“超級莊家”。
數字貨幣和各類代幣雖脫胎于“去中心化”的美好愿景,但在實際運行過程中,由于被大量“中心化”的機構壟斷資源,項目發行“空氣幣”涉嫌欺詐融資、私募代投和操縱幣價的亂象盛行,已經發展到不能忽視的程度。
“超級莊家”杜均和他背后的產業鏈,可謂是展示當下整個數字貨幣交易市場坐莊手法的一個樣本案例。
二、杜均其人

杜均,重慶開縣人,1986年出生。
媒體鮮有關于杜均的報道,零星的信息大多來自2017年9月之前他集中接受的一些媒體專訪。但這些足以讓我們了解到他的發跡史:
杜均有很強的賺錢意識,這源于他的成長經歷。杜均父親在其幼年做生意經常賠錢,從小的耳濡目染,使得“賺錢”從那時開始便成了他最重要的人生目標;
初中期間,杜均接觸到了剛剛在中國興起的互聯網。他曾靠打游戲賣裝備、建站賺廣告費謀生,是早年間國內互聯網野蠻生長時代孕育的無數個人站長之一。以此為契機,杜均接觸到了與實體經濟截然不同的虛擬經濟;
國務院:推動區塊鏈等新技術與交通行業深度融合:金色財經報道,1月18日國務院印發《“十四五”現代綜合交通運輸體系發展規劃》。規劃顯示,堅持創新驅動發展,推動互聯網、大數據、人工智能、區塊鏈等新技術與交通行業深度融合,推進先進技術裝備應用,構建泛在互聯、柔性協同、具有全球競爭力的智能交通系統,加強科技自立自強,夯實創新發展基礎,增強綜合交通運輸發展新動能。[2022/1/18 8:57:07]
他沒有完成大專學業就毅然輟學北上,一度淪在餐廳打工。但憑借常年混跡互聯網圈積累的經驗和圈子,杜均成功進入知名企業家和天使投資人戴志康創立的康盛創想,在旗下Discuz!擔任產品設計相關職務。康盛創想于2010年被騰訊全資收購,只有高中文憑的杜均得以進入中國最大的互聯網公司工作。
據說,杜均私下曾跟人宣稱,自己22歲就已經實現了財務自由。這一說法的真實性無從考證,但有一點卻是事實:杜均年輕時確實靠倒賣域名掘到了第一桶金。
在頻繁觸網的那段時間,杜均知道了“蔡文勝”這個名字,后者倒賣域名發家致富的經歷深深地刺激了他。他依樣畫瓢,不停買入有升值潛力的域名,等其升值后賣出。多處關于杜均的報道中都提到,他在團購領域“千團大戰”時靠囤積帶有“團”字的域名發了一筆不小的財。在一篇由杜均自述構成的報道中,他羅列了自己在2006年到2013年之前每一年的域名買賣情況,每一筆交易的投入和回報都有詳細記錄。
這時候,比域名更刺激的“比特幣”出現在他眼前。
2013年下半年,杜均從騰訊辭職,與李林等人聯合創立數字貨幣交易所——火幣網。昔日的領導戴志康則成了火幣網的天使投資人。
后來的事實告訴我們,這絕對是一次回報極高的投資。
杜均的職務是火幣網首席營銷官。火幣網在2013年底上線,立即打出了“免交易手續費”的旗號,狠狠戳中當時交易所收取交易費的軟肋。再加上杜均在站長時期積累的運營經驗,平臺很快一躍而起。只不過,等到火幣網發展壯大、杜均退出直接管理隱居幕后時,它隨即連同國內幾大交易所重新開始收取手續費,甚至開始向項目收取巨額的ICO“上幣費”,這些都是后話了。但無論如何,周鴻祎在中國互聯網行業將“免費”邏輯發揚光大,杜均是這一方法論在幣圈的早期踐行者。
這時,他的人生高潮剛剛開始。
現在看來,他的確對低買高賣有著很好的感覺,先是域名,后來是數字貨幣,兩者都是極具潛力的投資標的和炒作素材。
其實杜均并不算是站在大潮最前沿的那個人。當他開始倒賣域名,跟當時的個人站長們打成一片時,蔡文勝早已靠此起家,還被人稱作“個人網站教父”;他接觸到比特幣投資雖然比行內大多數人早,可也不過是2013年左右的事情,很難確定他對加密貨幣和背后的區塊鏈技術有什么積累和信仰;當他辭職參與創辦火幣網時,距離交易額一度占到比特幣總額80%、圈內人戲稱為“馬桶蓋”的Mt.Gox上線已過去了好幾年,國內市場也誕生了“比特幣中國”這樣的交易所先驅。
但他有著比別人更強的行動力,以及賺錢的欲望。
火幣網上線一年多之后,杜均退出火幣網管理層,創辦了區塊鏈代幣媒體“金色財經”,又順勢募集了自己的基金”節點資本”。從某種意義上說,金色財經和節點資本相當于火幣網的衍生產品,三者共同織就了一張覆蓋整個ICO鏈條的網絡。
隨著這張網絡的鋪開,杜均個人在圈內的影響力也日益強大。當他再次低調亮相時,已然身兼“節點資本創始合伙人”、“金色財經創始人”和“火幣網聯合創始人”三個頭銜。
在很多沒有參與過傳統股票交易市場的“幣圈人”眼里,杜均這是在“布局產業鏈上下游”,但倘若以金融市場的角度看待數字貨幣交易,他的角色簡直不可思議。
數字貨幣的本質是金融產品,各類數字貨幣在交易所內和場外的幣幣買賣已經構成事實上的類證券交易行為。而杜均所謂的“產業布局”,實際上相當于將券商、交易所和媒體,由一人或者同一利益方全權掌握。三個市場角色之間沒有任何隔離和第三方監督,同時又因為數字貨幣沒有被承認為法定貨幣,或不適用于現有金融監管條例,這使得杜均和他的“產業布局”,在操縱項目ICO全程,以及“上市”后的幣價走勢上,簡直輕而易舉。
事實上杜均的確也這么做了。
三、超級莊家
相信很多人都曾看到過下面這張圖:

在這副所謂的“幣圈大佬撲克牌”中,杜均被排在一個不起眼的位置。不必說與比特幣發明者中本聰、以太坊創始人VitalikButerin或是中國比特幣第一人李笑來相比,杜均在圈內稍有名望的大佬中也排不上號。他的人物介紹是:“金色財經創始人”。
鏈上ChainUP WaaS聯盟與布洛克科技達成深度戰略合作:據官方消息,鏈上ChainUP WaaS聯盟與布洛克科技宣布達成深度戰略合作,雙方就區塊鏈技術應用落地、區塊鏈金融服務、資金安全等方面深度合作。
BLOCK GLOBAL旗下涵蓋六大生態板塊:全球媒體矩陣:布洛克科技、blocktimes、Coinin、Beecast;數字礦業BLOCK STAR涵蓋BTC、ETH、IPFS礦場、礦機、云算力及數字礦業金融;數字金融戰略投資GEX、Huobi Indonesia等交易平臺;數字基金BLOCK ECO FUND累計投資項目70余個。
鏈上ChainUP WaaS聯盟作為企業專享的數字資產托管及金融服務平臺,提供主鏈資產托管、節點服務、主鏈定制開發、熱門幣種一鍵接入、共管錢包、借貸理財等多種功能服務,聯盟企業轉賬 0手續費、實時轉帳,同時企業通過WaaS聯盟提供的借貸、理財等多種金融服務可有效提升資金使用效率與沉淀資金價值。目前已有超過500家企業加入鏈上ChainUP WaaS聯盟。[2021/1/22 16:45:59]
這其實不符合金色財經這家媒體在幣圈的影響力,也不符合杜均的江湖地位。
金色財經是幣圈最早、也是流量最大的“媒體”之一。除了針對國內讀者的中文站,另有英文、韓文、日文和俄文分站,分別面向全球數字貨幣交易最熱門的幾個國家:中國、美國、新加坡、韓國、日本和俄羅斯。在這里你可以看到幣圈發生的一切——幣價行情、最新消息、知識普及和觀點評論等等。當然,其中還摻雜著大量區塊鏈項目的推廣軟文,以及各類ICO的促銷廣告。
幣圈人對金色財經褒貶不一。有人視其為幣圈的風向標,“金色財經說什么就是什么”;有人則怒斥它經常對外放捕風捉影的消息,操縱幣價。但多數人都承認一點,金色財經在幣圈有著很大影響力,是這個圈子里少有的擲地有聲的大媒體之一。
眾所周知,無論是傳統的證券市場還是數字資產交易市場,新聞媒體都是買賣雙方最主要的信息來源。在價值投資缺位的幣圈,消息左右幣價的能力更加強大。
但證券市場有著充分的監管限制和信息披露,這是各類ICO項目和數字貨幣交易所不具備的。既然數字貨幣不適用于現有的證券法律法規,那么作為“幣圈證券媒體”而存在的金色財經無論發布什么信息,其內容傾向如何,理論上也都不受制約。
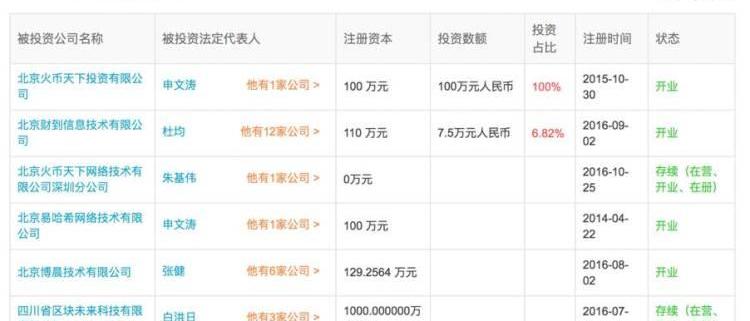
根據天眼查披露的企業工商信息,杜均為金色財經背后的企業主體“北京財到信息技術有限公司”最大單一個人股東,持股52.27%,為實際控制人。

金色財經構成了杜均坐莊網絡上的第一個關鍵節點:控制消息發布。
繼續沿著此線索追溯,可以發現:杜均雖然已經從火幣網離職,但其實藕斷絲連。在火幣網的國內企業主體之一“北京火幣天下網絡技術有限公司”中,杜均仍持有4.22%的股份,同時還擔任著該公司的獨立董事。而“北京火幣天下網絡技術有限公司”也參股了“北京財到信息技術有限公司”。

也就是說,火幣網也是金色財經的股東。這也就不難解釋為什么金色財經上存在著大量火幣網的利好消息了。
值得多提一句的是火幣網的股權結構。火幣網總部位于新加坡,在全球各地都有團隊,所以中國境內的“北京火幣天下網絡科技有限公司”只是其企業實體之一。在國內的工商信息中可以查詢到,一家注冊在香港的HuobiUniversalLimited公司與火幣網及關聯公司有著諸多交叉持股關系。
不過,火幣網官方網站上顯示的戴志康、真格基金、紅杉中國等投資方與火幣網的持股關系,在國內的工商信息系統中,并沒有得到完整的體現。

杜均和火幣網之間的利益關系?
這意味著火幣網有著周密的股權安排,國內這家公司只是冰山一角。火幣網的公司實體和真實股東分布在多個國家,其完整結構難以徹底查清。
即便如此,至少有一點可以確認,即杜均、火幣網和金色財經之間為交叉持股關系,在公司層面是典型的利益關聯方。
這構成了杜均莊網上的第二個關鍵節點:持有交易所股份,分享操盤收益。
與證券交易所不同,數字資產交易所完全是私人企業,不需要承擔社會責任,可以參與到前期發幣和上市后炒幣的任意一個環節中。圈內人都清楚,這是一門穩賺不賠的生意:每個ICO項目想要登陸交易所都要繳納價值上千萬人民幣的上幣費用,以法幣、以太坊、代幣的形式繳納,或三者混合;無論幣價漲跌,任何買賣交易交易所都能從中收取手續費,杠桿交易中交易所還能收取高額的借幣利息;交易所可以利用沉淀在交易所里的用戶資產操盤炒股,甚至無需動用本金制造虛擬交易……可謂無所不能。
北京互聯網法院出臺意見:加快區塊鏈等現代科技與互聯網審判工作的深度融合:北京互聯網法院正式出臺《關于為促進北京數字經濟創新發展提供有力互聯網司法服務和法治保障的意見》(以下簡稱《意見》),以充分發揮互聯網司法職能作用,為促進北京數字經濟創新發展、國家服務業擴大開放綜合示范區建設提供有力司法服務和保障。《意見》提出,在互聯網司法智能化應用方面,加快實現人工智能、5G、區塊鏈等現代科技與互聯網審判工作的深度融合,持續落地互聯網技術應用的司法新場景,以北京互聯網法院建設成效,為世行評估提供新的最佳實踐樣本。(北京日報)[2020/9/21]
根據全球虛擬貨幣和交易所統計網站CoinMarketCap的實時數據,火幣網在24小時交易量中一直穩居全球交易所前五名,經常擠進前三。
理論上只要掌握交易所這一核心資源就可以坐莊。但杜均的圈子胃口不僅限于此。
杜均的最后一重身份是“節點資本”創始合伙人。這是一家私募投資基金,也是杜均莊網上的最后一個關鍵節點。
像大多數專門投資區塊鏈及數字貨幣項目的私募投資機構一樣,節點資本很年輕,2015年才正式成立。這類機構的投資模式與傳統私募股權投資不同,通常使用數字貨幣和法幣結合的方式投資項目,行為發生得極為隱蔽。
在節點資本的官方網站上我們可以看到,節點資本也是火幣網和金色財經的投資方。換句話說,杜均不但自己參股了火幣網,其控制的節點資本也是火幣網的股東之一,這說明杜均在火幣網中的持股并非只有4.22%。

初步統計,節點資本的投資組合里,其中有一半項目完成了ICO,而這些ICO大多是在最近幾個月時間里完成的,這其中就包括炒幣者們耳熟能詳的GeranoNetwork、IOST、YEE和aelf等項目。
基于杜均的“三重身份”,他可以用“節點資本”投資早期項目,項目ICO后登陸自己持股的交易所,手上的媒體資源又可以為項目“保駕護航”。這是一個完整的生財體系。
這在傳統二級市場完全不可想象。待上市企業、證券媒體、證券公司和交易所,它們分別是獨立的存在,每一部分的行為都在證券法規的嚴格控制之下。這樣做的目地是讓二級市場的交易運作透明、規則公平,消除公共投資者的信息不對稱,是全球通行的基本法則。但在幣圈,它們之間非但沒有隔離,甚至可以是同一個人在幕后操盤,坐享ICO每一個節點上的巨額利潤。
比起一些僅參與了部分ICO鏈條的幣圈名人,杜均某種程度上掌握著比他們更大的話語權,是名副其實的“隱形大佬”。
條件皆已具備。隨著全球范圍內數字貨幣交易逐漸升溫,ICO井噴,坐莊的機會自己就找上門來。
四、詭異的烏龍
炒幣者們可能永遠都忘不了2017年12月代幣“WAX”登錄“火幣Pro”交易所后,狂跌99%的慘烈景象。
2017年9月4日,有關部門對ICO的監管禁令出臺,中國內地原有的交易所格局發生了一場戲劇性的變化:比特幣中國直接宣布當月底停止交易,后來市場上傳出其被香港投資基金收購的消息,但沒有對外披露任何交易細節。原本默默無聞的小交易所“幣安”立即行動,將平臺遷至海外,項目也趨之若鶩,幣安也一躍成為交易額最大的交易所之一;火幣網則將交易平臺整體遷至海外,并改名為“火幣Pro”,同時還上線了多個語種的交易平臺。
而戲劇性的是,各類代幣ICO井噴的時間點,都發生于2017年9月4日ICO禁令之后。
據不完全統計,2017年11月至12月的短短兩個月時間里,“火幣Pro”上幣數量達到近40個,2018年前兩個月的數量高達45個。換句話說,超過80%的幣種,都是集中在最近四個月時間里登錄火幣Pro的。
火幣網正式將所有幣種的交易遷至火幣Pro之后,開始的兩個多月,項目上幣是不收取費用的。直到“WAX”的ICO事件。
2017年12月,一家叫做OPSkins的游戲虛擬資產交易平臺宣布ICO,公開發行自己的代幣WAX。按照原定計劃,WAX將在2017年12月20日在火幣Pro上線交易。
然而就在正式上幣的2天前,WAX項目團隊突然在Twitter和Medium等社交網絡上發出通知:將代幣數量拆分,增發至原有10倍,幣價瞬間貶值至原價的一成。但火幣Pro在20日卻仍以原價格上線WAX,這使許多沒有看到通知的散戶投資者,在不知情的狀況下以原價買入。不出所料,WAX上線后幣價旋即跌去99%,大量投資者被套牢。
聲音 | 深圳市委書記:深圳將加快區塊鏈等技術深度應用,推動技術融合、業務融合、數據融合:據人民網深圳報道,12月1日,深圳建設中國特色社會主義先行示范區“數字政府”高級別研討會舉行。深圳市委書記王偉中致辭表示,深圳將切實發揮建設粵港澳大灣區和支持深圳建設中國特色社會主義先行示范區“雙區”利好疊加優勢,對標最高最好最優,率先探索完善數據管理和安全保護機制,加快大數據、人工智能、5G、區塊鏈等先進技術深度應用,推動技術融合、業務融合、數據融合,實現跨層級、跨地域、跨系統、跨部門、跨業務的協同管理和服務,打開數字世界新空間,增強數字經濟新動能,拓展數字生活新內涵,努力建設具有世界一流水平的新型智慧城市標桿市,用數據為國家治理體系和治理能力現代化賦能,更好滿足人民對美好生活的向往,為建設網絡強國、數字中國、智慧社會作出新的更大貢獻。[2019/12/2]
WAX烏龍事件震驚幣圈。6天后,也即12月27日,火幣網就此事件召開發布會,CEO李林出面解釋事件原委。李林稱:此事并非WAX團隊惡意增發,而是因為雙方商務團隊沒有及時溝通所致。火幣網隨后出臺了一項賠償計劃,稱會拿出1億元全額賠付用戶,并承諾在2018年1月31日前賠付完畢。
與賠償計劃一起,火幣Pro宣布立即停止免費上幣服務,對項目ICO收取上幣費用,并進行資質審核。
現在看來,WAX事件仍存在重重疑點:
第一,WAX在上線前至少2-3天即在Twitter上宣布增發,并于12月19日在Medium上發表公告宣布此事。而作為WAX唯一且首發的交易所,火幣Pro稱對此完全不知情,團隊在上幣前兩天與項目方沒有任何信息溝通。
第二,WAX是由OPSkins這一項目的團隊發行的,該項目上線于2016年,自稱全球領先的虛擬游戲裝備交易平臺。但Google、維基百科、Steam社區以及各種公開資料中,這個交易平臺的信息甚少。
第三,節點資本恰好是WAX的投資者。WAX是OPSkins團隊的代幣項目,杜均進入WAX的方式很可能只是公開交易前的私募階段。火幣網的獨立董事及股東之一杜均,作為項目的私募投資方,竟然也不知道WAX要1:10拆幣的消息,或者是知情,但沒有跟火幣網的任何人進行溝通。三者之中沒有在兩天的時間里互通信息,本身就非常不合常理——畢竟,這次事件的賠償金高達1億元人民幣,而它又是由一個如此荒謬的原因造成的。
最后,無論是火幣網官方還是李林的澄清,都對火幣網和WAX之間的關系只字不提。
更意味深長的是,WAX事件之后,金色財經上隨即出現了幾篇為該事件和火幣網“澄清”的文章,它們也同時被群發在了各個網站渠道上。
現在沒有確切的證據顯示這是一場有預謀的欺詐事件,但火幣網和WAX團隊也的確沒有針對以上的疑點作出符合常理的解釋。
無論如何,從WAX事件開始,在火幣Pro上幣更難而且更貴了——目前,幾家平臺的上幣費都暴漲至幾千萬人民幣。另據一位試圖在火幣Pro上幣的項目方透露,火幣對他們只收現金作上幣費。可這絲毫沒有澆滅項目們的熱情。
另一邊,在此之后的兩個月里,杜均和節點資本似乎完全沒有受到WAX影響似的,出手的ICO項目更多、更頻繁了。
五、莊技
莊家,通常指能夠影響金融證券市場行情的大戶投資者,在股市中常常是上市公司所有者、投機游資和基金機構。
以1990年12月上海證券交易所正式開業為起點,中國內地股市經歷了單一莊家坐莊、金融集團坐莊和基金機構坐莊等幾個時期。1995年到2005年的十年間,國內股市莊家橫行,利用監管空白、信息不對稱和資本優勢狂洗股民。此后,隨著上市企業增多、股票流通盤擴大,加上大量散戶投資者涌入股市,莊家雖不復當年的輝煌,但仍然分散隱身于市場之中伺機而動。
另一邊的散戶們永遠對莊家又愛又恨——跟著“小道消息”和莊家同進退,一直是散戶投資者,準確地說是投機者的渴望。然而,歷史證明,跟莊成功者少,被莊家玩弄者眾。
《莊家之死》一書的作者陳斯文曾評價這一現象:直至今日,國內股市仍未擺脫“莊家炒作、民眾投機”的怪圈。誠然,在后來2007年和2015年的兩次大牛市中,大眾的投機心理與此前混亂的十年并無不同。
中國股市的莊家史給當下的幣圈提供了一個絕佳的參照系。
非主流代幣公開交易后與上世紀90年代中國股市上的股票們并無二致,炒幣者的潛在收益更大,面臨的環境也更加混亂兇險。
與IPO類似,ICO有著一套獨立的發幣、私募、承銷和公募流程。在項目的私募階段,基石投資者、早鳥投資者以及其他早期投資者分別用一定折扣認購代幣份額,拿到大份額的承銷商則會向下分發,幫助散戶代投賺取差價。另外,官方還會利用各種社群活動空投糖果,在幣圈媒體作廣告投放,或是直播空投等方式免費贈送一部分代幣,刺激散戶參與。
聲音 | 中國電促會秘書長:將促進區塊鏈等技術與電力行業的深度融合:據中國電力網消息,中國電力發展促進會常務副會長兼秘書長游敏日前在座談會上表示,電促會換屆以后,將致力于促進“大云物移智和區塊鏈”等新一代數字技術與電力行業的深度融合作為自己的核心服務業務,提出“跨界、融合、增值、共享”的服務理念。[2018/9/11]
多數項目ICO時只有團隊和白皮書,沒有實體業務和資產,因此需要靠幣圈大佬站臺,知名人士作為顧問,以及私募投資者和承銷商做銷售背書,才能獲得投資者的關注和信任,并認購份額。2018年初,幣圈名人“寶二爺”在一次行業分享中說:自己為項目做顧問站臺的收費標準是1%的待發代幣,前不久在美國給幾個項目“云站臺”就凈賺500萬美元。行業中顧問們的暴利可想而知。
這其中隱含著一個事實:項目早期的股權投資人、創始團隊和代幣私募階段拿到份額的大戶投資者和顧問們,在公開交易前都通過認購或是被贈送的方式持有為數不少的代幣,有著共同的利益訴求——希望自己手上的幣升值。
這種扭曲的行業關系和“健康的ICO市場環境”,幾乎背道而馳。
根據公開資料的不完全統計,在2017年11月至2018年2月的短短4個月時間里,節點資本投資的ICO項目至少有12個,幾乎所有項目都得到了金色財經的推薦,其中還有不少聯合火幣Pro進行了首發促銷活動。


一位業內人士對PingWest品玩透露:金色財經與其它大多數媒體不同的是其掌握的“交易所資源”,金色財經的商務方案,包括火幣Pro的交易所作為資源打包提供給ICO項目。
杜均一手投資ICO,一手用金色財經幫這些項目搖旗吶喊,身兼運動員和啦啦隊兩個角色,各不耽誤。
這還不是這場局中最精彩的部分——如果仔細觀察這些代幣ICO后在火幣Pro上的走勢你會發現,杜均還是裁判之一。
以下是杜均投資的部分項目在ICO后的盤面。在幣幣交易中,分析盤面的指標與股票市場基本一致,因此各類股票分析工具同樣適用于于幣價分析。




在此我們選擇股票分析兩個核心指標:“佳慶資金流量”和“成交量擺蕩”。
佳慶資金指標為股票市場常用分析工具,它用于描述一支股票的強弱狀態。這個指標與股價的關系是:CMF會隨著股價緩緩上升,股價下跌CMF也會跟著下跌。當CMF指標大于0時,市場向好,反之則向壞。波動越大,買入/賣出的壓力越大。在同一時間點,CMF如果與價格呈相反狀態,就意味著行情的轉變。
成交量擺蕩是一種用曲線方式展示交易量的工具,短期成交量高于長期平均成交量時曲線為正,反之則為負,用來描述交易量的短期變化。
將這兩個經典指標與價格走向疊加之后,可以基本判斷出主力資金的進出情況。這個指標組合存在滯后,但描述清楚過去一段時間里大額資金的流動足夠了。
根據幾個指標的關系,
CMF和成交量擺蕩同時拉高,在幣價達到最高點之前達到頂點并出現向下信號,意味著行情反轉,莊家開始出貨;
CMF從0線以下向上抬升、成交量擺蕩出現異常波動,但價格未有相應明顯變化,說明莊家正在吸貨;
CMF弱于0線、成交量擺蕩波動小,同時價格也趨于平穩,說明此時市場上大額資金很少,主要是散戶在博弈;
如果成交量擺蕩大幅波動,CMF和幣價卻沒有出現相應的大幅波動,說明市場上存在大量對敲交易,這是典型的操縱價格現象。
在DTA、IOST、WAX和YEE等幾個幣種中,都出現了以上一種或幾種大額資金的操盤痕跡。其中有幾個幣種在剛剛上線交易時有明顯拉盤現象。
通過對一些“幣圈”人士的采訪,PingWest品玩了解到其中一部分事實:幣圈的“控盤者”主要是項目團隊本身、機構投資者和交易所三撥人。在證券市場中,釋放消息拉盤砸盤、掌握籌碼對倒操縱價格、震蕩洗盤、拉升股價后高位拋貨,這些一直是股市莊家們樂此不疲的坐莊伎倆。而在幣圈,這些手法一樣都沒被莊家落下。
但不一樣的是:同樣是有著莊家存在,證券交易所的運行在國家的嚴格監管之下,莊家想要坐莊,必須具備大量本金,吸收大量籌碼,而且多賬戶同時操作,才可能實現控盤;而在幣圈,交易所在散戶真正提幣之前,一切的交易都是虛擬數字,前臺運行的買賣手完全可以是自動運行的機器人程序,不需要真正的幣幣流動。
另有一個現象可以為莊家操盤提供側面佐證。根據上文的表格,自2017年12月開始,每個幣種登錄火幣Pro開始交易后,開放充值和提現的間隔時間越來越長——較早登錄的項目通常當天即開放充值和提現,慢慢地,提現時間至少要間隔2天,甚至更久。這相當于交易所人為地設定了一段封倉時間,而很多代幣在這段時間里,足以完成幾輪操盤了。
實際上,許多散戶投資者非常清楚有莊家和交易機器人的存在。在火幣Pro官方Telegram群組和一些項目的官方討論群中,有的散戶甚至直接呼吁交易所和項目拉盤。他們一邊在社群里罵罵咧咧,一邊樂此不疲地參與其中。
炒幣的投機本質暴露無遺。
最近發生的一起疑似交易所直接操盤事件來自2月25日ABT的ICO。2月26日上午,ABT在火幣Pro上由于“技術問題”出現卡單,許多掛出的高價單無法撤回,但頁面顯示仍有掛單在成交。卡單導致幣價急劇下跌,投資者損失慘重。此事在火幣Pro的官方Telegram群里引發大量用戶投訴,火幣客服則一直以“正在解決”和“匯報給領導”為由搪塞,沒有對異常現象作出澄清說明,投資者們的質疑和謾罵也是置之不理。
整個“莊網”的做法大抵如此:節點資本投資并推動項目ICO,金色財經參與鼓吹,火幣網上坐莊拉高價格出貨或砸盤做空——無論這些行為是否由杜均親力親為,杜均都會以股東身份享有整個鏈條的巨額收益。
六、“圈外人”的掮客
莊網自然不止杜均這一張,掌握著核心資源的大佬也不止杜均一個。除了投資機構,各地還出現了不少利益捆綁的圈內聯盟,大莊外圍形成了不少小莊。積累了大量資本的莊家們織成了無數縱橫交錯的網絡,或是聯合投資,或是暗自較量,結果就是核心資源牢牢掌握在少數人手里。
如此明目張膽的坐莊行為,在證券交易市好比刀尖上舔血,在幣圈的“圈內人”看來卻是一種護盤的保證。
不止一位幣圈散戶投資者告訴PingWest品玩:圈外有什么負面消息和“黑幕”揭露,圈內人幾乎沒人在意——在他們眼里,無論有什么樣的負面消息放出,跌到一定程度圈內大佬總會護盤,不會讓所有人都血本無歸。看起來,大家都把莊家們看作“善莊”了。
究其根本,無非是一種跟莊心態在作祟。私募階段的投資者能以較低的折扣拿到代幣,對于公募后的散戶有著巨大的成本優勢。ICO之前的低價份額掌握在莊家和大戶投資者手里承銷,為了拿到份額,中小投資者們往往默認讓莊家賺大頭,自己喝湯。
久而久之,圈內就形成了這樣一種微妙的平衡——大家都想向各個莊家靠攏賺更多的錢。
這種平衡下的暴利勢必會遭到圈外人的覬覦。新的投資者被金錢的味道吸引過來了,杜均的莊網也沒放過這個機會,順勢當了一把掮客。
2017年年底,真格基金悄悄入場。
關于真格基金和區塊鏈的關聯,最有名的當屬徐小平群內發言“泄露”事件。這一事件可謂正式引爆了整個互聯網輿論對區塊鏈和幣圈的關注,“沾區塊鏈和ICO就火”的現象由此愈演愈烈。
可圈內人都清楚,在徐小平發言泄露之前,真格基金參與的幾個項目的ICO早已經在圈內炒得沸沸揚揚。公開資料顯示,真格基金在2017年底密集參與了IOST、DATA、HOT和LINO至少四個項目的發幣。目前,除了LINO之外,另外三個幣種已經上所交易,LINO沒有公開ICO。但LINO的Telegram群里每天都非常活躍,官方悶頭投放糖果,投資者呼吁登錄幣所交易。
但代表真格基金在幣圈活動的不是徐小平,而是合伙人戴雨森。
戴雨森,前聚美優品產品副總裁,于2017年7月離開聚美優品加入真格基金,擔任合伙人職務。在戴雨森的LinkedIn頁面上,最新的履歷中清晰地寫著自己目前擔任IOST、DATA、LINO和HOT四個項目的顧問,這幾個項目都是由真格基金投資的。這又是一處證明。

在2017年底一張由幣圈媒體和交易所聯合統計的“國內一線基金近期投資區塊鏈項目一覽圖”里,除了幾個新近成立的專門投資區塊鏈的機構之外,傳統風險投資機構中,只有真格基金一家參與頗深。

真格基金深度參與的這四個項目,節點資本都是聯合投資方,最新上線火幣Pro的EDU還完成了一整個鏈條的運作:節點投資、金色炒作和火幣上幣。
其中,IOST和DATA又是火幣旗下HuobiLabs的孵化項目——考慮到真格基金同時是火幣網的投資方,基本能判斷這些項目都是由節點資本、火幣網和真格基金聯手投資和推動的。
可以說,帶著真格入圈的掮客,正是杜均和他的莊網。
然而經過進一步調查,PingWest品玩發現:真格基金在幣圈的作為似乎不止這些。在我們拿到的一份波場ICO的私募材料中,首輪私募投資者中戴雨森也赫然在列。這些信息沒有在波場的公開募資信息中披露,卻在私募階段悄悄地通過社群和私下傳播,被派發到了無數早期投資者手里。
再后來,事情的走向開始有些失控。高潮在2018年除夕到來:“三點鐘”系列微信群建立,陳偉星和朱嘯虎之間爆發“區塊鏈”和“古典”之爭。一夜之間,50多家區塊鏈或幣圈媒體冒了出來,擁抱區塊鏈成為風潮。
傳統風險投資機構也紛紛按捺不住了,不再“與幣隔絕”。“三點鐘”的各個分支群里活躍著各種各樣來自傳統風投的合伙人和投資經理。
原有平衡已然被打破,但這個圈子是否能夠包容得下更多野心和貪欲,形成新的平衡,還是個未知數。
七、危局
2018年春節過后的幣圈,形勢看起來一片大好。
可“圈內人”都感覺得到,利益再也無法平均分配,財富開始明顯地向一些頭部資源流動。最典型的現象就是,對于項目方來說,ICO的成本越來越高,卻無法保證高額收益。
2月28日,火幣Pro的HADAX平臺第一期投票結束。HADAX平臺是火幣Pro推出的“投票上幣”項目,旨在由投票來決定哪些新幣可以登錄火幣Pro交易。第一期投票結束,有10個新幣種得到了上幣資格。
這可不是意味著火幣Pro想試著將ICO從“核準制”向“注冊制”過渡。在HADAX上每向一個項目投票,用戶需要花費0.1個HT。有媒體測算,按照2月28日當天的HT匯率,第一名EGCC項目花費近4800萬元人民幣,這些都進了火幣的腰包。這還只是一個項目的費用。
此舉遭到了多數媒體和圈內人士的質疑,認為這是火幣網變相漲上幣費的手段,與競價排名別無二致。迫于輿論壓力,火幣Pro迅速開通“退幣”機制,承諾可以退還投票費用,并公開向用戶征集第二期投票上幣規則的完善意見。
有圈內人士直言:如今的項目方,完全就是在給交易所打工!
據說,在一次近期舉行的閉門交流論壇上,有ICO項目的宣發人員訴苦:稱目前金色財經的打包宣發費用已經達到幾百萬。3月3日,新媒體“鉛筆道”發表的一篇文章稱,幣圈媒體推薦項目ICO的軟文收費驚人,甚至達到了一篇文章收費10萬元的程度,但點擊數只有200多。業內人士稱,金色財經所收取的廣告費只會比這個數字更大。
幫著項目方算一筆賬,顧問費、上幣費和宣發費用,一場ICO下來,手上拿到的錢所剩無幾,這剩下的一點錢當中,又有多少能用來做產品開發?莫不是真的在“開發”空氣幣?
另外一個瘋狂且危險的信號觸動著每個幣圈人的神經。
ICO后狂漲的美好景象破碎,大量代幣上線火幣Pro后破發,而且有著愈演愈烈的趨勢。有圈內人士私下詢問幣圈知名投資人、FBGCapital創始人周碩基對這件事的看法,后者只說了一句話“看項目背后的團隊”便再不作聲。諷刺的是,隨著破發的ICO越來越多,圈內竟然出現了“破發險”的險種。
看似熱鬧的幣圈,慢慢地變成了一個零和博弈的戰場——財富在大戶手頭流動,靠著頻繁的交易維持盤面的熱鬧。然而,越來越多的散戶體會到了“上市即破發”的痛,越來越多的財富被盡情地收割。
3月3日,全國政協十三屆一次會議開幕,中國進入“兩會時期”。就在大會召開前的一天,兩大數字貨幣交易所火幣網和OKEx的微信公眾帳號突然消失,前者被刪除“火幣網”,被迫改名“huobicom”;OKEx則直接被封號,屏蔽一切消息。

這被輿論視作幣圈“大事發生”的前兆,謠言四起。至本文發表為止,火幣網和OKEx官方沒有對此發表公開聲明解釋,兩大交易所業務一切照舊。
八、“是時候了”
去年開始業內即有傳言,包括杜均在內,幣圈主要人物已經被限制出境。有幾位獨立信源先后向PingWest品玩證實了這個消息。當我們試圖聯系到其中一位早在站長時代就與杜均相識的人想要談一些關于他的事,對方婉拒了采訪請求,稱“現在談他太敏感”,不愿多說。
一張在圈內流傳的微信對話截圖顯示:央行將會在315期間“有動作”,并稱火幣CEO和COO已經被限制出境。甚至有人說,不排除采用叫停礦廠挖礦的嚴厲措施。

就在3月開始后的幾天,節點資本的網站信息,沒有任何征兆地由中文全部替換成了英文。
越來越多的信息顯示,國內新一輪的措施就要到來。
但大佬們似乎沒有受到影響似的,在三點鐘群里談笑風生,私下里籌劃幣圈的“下一件大事”。
2月27日晚,幣圈很多有頭有臉的人物出現在北京的一個酒吧。起初這只是一個少數人的小聚會,但隨著消息在社交網絡上傳開,越來越多的人趕來現場,小小的酒吧瞬間被包場。
小局變成大局,大局中又套小局。在一個只有核心人物的小局上,幾個大佬商量,由最近在輿論中倍受矚目的陳偉星牽頭成立一個新基金,名為“2100”。關于2100這個名字有幾個說法,一說是入會的人起碼得是2100個比特幣以上的身價,一說是這是陳偉星自己之前一個基金的名字,還有人說加入的人起碼能搞定2100個比特幣的資金。
當然,杜均也在其中。
文章寫到結尾,我們與一位圈內人士確認關于“2100基金”和杜均的消息。對方得知的來意后,說了一句話:
“也是時候了。”
Tags:區塊鏈PRO數字貨幣OST區塊鏈dapp開發框架Sway Social Protocol數字貨幣和加密貨幣的區別在哪SafePost
鏈捕手消息,1月24日,Cosmos在推特表示,為確保Stargate主網升級成功,團隊建議CosmosHub升級計劃推遲至2月18日.
1900/1/1 0:00:00本文于2020年10月25日首發于公眾號BlockVC在比特幣系統運行超過五年后,以以太坊為代表的新一批區塊鏈技術驅動的創新項目開始嶄露頭角.
1900/1/1 0:00:00鏈捕手消息,據官方博客,1inch基金會已于北京時間2月13日凌晨1點向加密社區空投了1505.5萬枚1INCH,截至目前價值約為8300萬美元.
1900/1/1 0:00:00鏈捕手消息,權益質押服務商Staked針對此前超70節點集體遭到slash懲罰回應稱,2月2日有75個運行在Staked的節點遭到slash懲罰,這主要是由于技術性問題,客戶將得到全額賠償.
1900/1/1 0:00:00NerveNetwork目前已經正式跨鏈打通了火幣生態鏈Heco公鏈,用戶可以將已經在HuobiECOchain注冊的ERC20/ETH、BEP20/BNB、NULS/NRC20以及NULS平行.
1900/1/1 0:00:00第一章共識機制的概念和作用1.1概念:分布式賬本正常運行的核心規則?由于加密貨幣多數采用去中心化的區塊鏈設計,節點是各處分散且平行的,所以必須設計一套制度,來維護系統的運作順序與公平性.
1900/1/1 0:00:00